进液-回液过滤站
2019-08-01

序言
衷心感谢您选用 FCJZ2000/4过滤站,我们将为您提供优质的产品和星级的售后服务。
我公司吸取国内外过滤技术精髓,通过长期的试验与研究,研发出具有自主知识产权的创新型反冲洗过滤站,适用于乳化液及水的过滤,也可适用于其他矿山机械设备需要过滤的场合。
本使用说明书向您详细介绍了FCJZ2000/4过滤站的技术特点、性能参数、工作原理、结构组成、安全操作、保养维修等各方面的内容。
为了使产品长期保持其性能、防止故障及事故的发生,必须按照规定进行操作、维护、检修、故障诊断等作业。
请您在操作前仔细地阅读本说明书。这将会:
——帮助您了解本产品;
——避免由于不适当操作而引起的故障;
——增加产品的可靠性;
——延长产品的使用寿命;
——达到经济安全地使用效果。
只有完全了解本产品的说明书内容,您才能熟练而安全地操作本产品.
安全警示
请您精心维护和正确使用FCJZ2000/4过滤站.
1. 使用该 FCJZ2000/4过滤站前,务必仔细阅读本说明书,并按所述要求进行操作;
2. 操作及检修人员,必须是经过培训,并经考核合格的熟练工人;
3. 必须按本说明书的要求进行各项技术使用、保养;
4.在检修反冲洗过滤站时,一定要先关闭管路内的液体流动;
5.过滤站在正常工作时,不允许有液体渗漏现象;
6.当环境温度低于O℃时,若长时间停止使用,必须放净工作腔的液体,以防因结冰,造成下次重新使用时出现困难;
7. 属安标控制的产品,必须选用具有安全标志的产品,严禁配用非安标的配件。


图1 FCJZ2000/4过滤站简图
1. 概述
FCJZ2000/4过滤站是在消化吸收国内外最先进的污染控制技术基础上,根据我国煤矿的实际情况而开发的与泵站系统配套使用的过滤装置。本设备采用优化设计方案,相较于同类过滤设备,液压元件实际使用寿命和系统可靠性显著提高,手轮驱动反冲洗能比较彻底地将污染物排出过滤站,提高滤芯的纳污能力。过滤站布局合理,结构紧凑,安装操作简单,可靠性高,能满足泵站系统对介质污染的控制要求。
2.产品特点
该产品具有高强度反冲洗、过滤精度高、安装便利、操作简单、可靠性高、抗腐蚀能力强等特点。适用于不同水质条件的煤矿井下。
高强度反冲洗:通过手轮旋转带动内部钢丝清洗刷刷洗滤芯内部,调节过滤器前后的阀门,将过滤后的液体反向倒灌,把聚集在滤芯上的污染物清除出过滤罐,达到比较彻底清洗滤芯的功能。而传统过滤方式污染物一直聚集在滤芯上,只能人工拆卸清洗。
过滤精度高:科学布局,设备分两级过滤,过滤网为两层不锈钢网制成,由于引入反冲洗功能,保证了过滤精度并避免滤芯被堵塞,真正降低甚至消除流动介质污染对系统元件的影响,从而提高液压系统的安全。
安装便利:结构紧凑,体积小,可与多种泵站系统配套,安装方便。
操作简单:只需关闭过滤器前的不锈钢球阀,打开排污阀,旋转手轮,即可实现滤网的反冲清洗,来回反复操作即可完成整个过滤站的清洗,方便快捷。建议每24小时反冲洗一次。
可靠性高:设备采用加厚不锈钢过滤筒、高精度滤芯、高密度钢丝刷等,结合我公司多年的经验积累,采用优化设计方案,保障故障率极低。
抗腐蚀能力强:设备主要部件均采用优质不锈钢制造,或采用特殊的防腐蚀处理,保证了液压元件的抗腐蚀能力。
3.主要技术参数
|
序号 |
名称 |
单位 |
FCJZ2000/4 |
|
1 |
公称压力 |
MPa |
4 |
|
2 |
额定流量 |
L/min |
2000 |
|
3 |
进液口尺寸 |
mm |
DN51*3 |
|
4 |
出液口尺寸 |
mm |
DN51*3 |
|
5 |
排污口尺寸 |
mm |
DN32 |
|
6 |
过滤精度 |
μm |
40 |
|
7 |
外形尺寸 |
mmXmmXmm |
2120x850x1260 |
4. 工作原理及结构介绍
FCJZ2000/4过滤站由四个过滤器分两组并列组成(图1),左右过滤器组与进出液集液器连接,单组过滤器之间通过DN65弯头、无缝钢管和 2 1/2″不锈钢球阀连接。可两组同时工作,也可以一用一备(如用液量不大,建议一备一用)。需要被过滤的液体通过进液接头进入进液平衡器平衡压力后分两路由过滤器低处进口进入滤腔内,液体由内向外流过滤芯,固体污染物被留在了滤芯的内表面,清洁的液体则通过出口离开过滤器进入下一级过滤,两次过滤后汇集于出液平衡器对外供液。
滤芯的堵塞程度表现在滤后(上压力表)和滤前(下压力表)差值上(图2),建议反冲洗后压差达到0.3MPa的时候更换滤芯。最大许可压差是0.35MPa。球阀手柄平行于过滤器管路状态时为开启,垂直为关闭。通过操作过过滤器前后不锈钢球阀来实现液体在滤腔内部的正反流动,开启过滤器前后阀门,过滤器正常过滤;反冲时,关闭需要清洁的过滤罐前的阀门,打开过滤器底部的排污阀,然后打开该过滤器后面的阀门,匀速旋转手轮(顺逆时针皆可)不低于30秒,液体和污染物则一起被排出了设备。然后,依次重复同样的动作反冲洗四组过滤器即可。
注:在正常的使用中请保持阀门开启,排污阀关闭状态
更换滤芯时,关闭该过滤器前后球阀,打开底部排污阀,排尽过滤器中的液体。然后打开盖板拉出转刷组件调换新旧滤芯即可。请注意:按过滤方向,FCJZ2000/4过滤精度依次为60μm、40μm,为保证过滤效果,请更换相同等级的滤芯。首次使用前和更换滤芯后请打开放气螺堵来完成排除空气的操作。

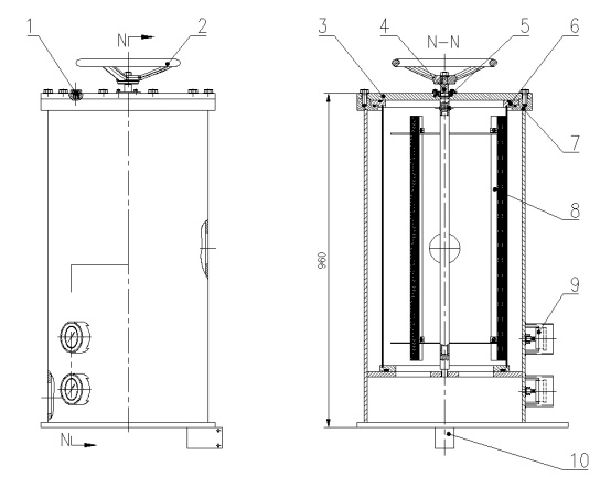
图2 FCJZ2000/4型过滤器结构简图
1、放气螺堵 2、手轮 3、盖板 4、转轴 5、轴承16004
6、滤芯组件 7、过滤筒组件 8、转刷组件 9、压力表 10、排污接头
5.安装与调试
本过滤站安装在一个框形托架上,出厂时已调试完成,用户在井下将过滤站固定在设备列车上后,将进液口与需过滤水源相联,出液口与用水液压设备相联,再检查各处接头与紧固螺栓有无松动,无异常后,即可接入试用;此时注意检查:有无渗漏、压力表显示的压力,若无异常,即可进入使用状态。
注意事项
A、反冲洗过滤站的使用有方向问题,勿接反,若长时间反向流动,会造成滤芯损坏。
B、反冲洗的排污管,应固定牢固,污水不能对着人冲。
6.使用与维护
井下要做到定期维护,检查各相互联结处,是否联接紧固可靠,是否存在漏液现象。压力表是否工作正常,过滤站控制方式为手动控制。
其中有以下几点需要注意:
6.1、本过滤站建议每1-2 天反冲洗一次。
6.2、 更换滤芯时一定要清理干净螺纹上的脏物,在螺纹与密封处涂黄油,防止不锈钢的螺纹丝扣互相咬合。
6.3、本过滤站加装有安全阀装置,不允许超压使用。
7. 常见故障分析与排除
在过滤站使用过程中,经过长时间的使用或者不当的操作可能会出现故障:
|
故障现象 |
原因分析 |
排除方法 |
|
1.上盖板与转轴连接处漏液 |
转轴密封圈损坏 |
更换密封圈 |
|
2.上盖板与筒体连接处漏液 |
连接处密封损坏 |
更换座圈法兰密封圈 |
|
3.手轮转动过于轻松 |
转刷组件松动或损坏 |
调节钢丝刷或更换转刷组件 |
8.运输、贮存与保养
8.1 运输
运输时装箱,包装材料必须具有防潮、防锈措施,包装必须结实可靠。运输过程中严禁重力冲击碰撞。
8.2 贮存
在室温下贮存,如长期不使用时,必须采取防潮、防锈措施,在其接口处加装塑料堵进行防尘。




